魏年将商标“李子奇”转让给子琪文化
发布时间:2021-11-04 11:20:13    作者:seo教程

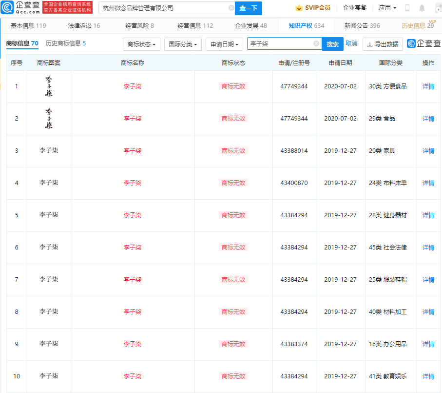
近日,杭州维年申请注册的商标“李子奇”先后转让给四川子琪文化有限公司.

目前,企业搜索APP显示,杭维年公司持有的商标“李子奇”多处于“无效商标”状态。

微念向子柒文化转让“李子柒”商标显示无效,微念异议他人抢注李子柒商标胜诉

据红星新闻此前报道,从目前情况来看,李子奇、子琪商标属于子琪文化,其他公司和个人不得使用。如果在同一商品上使用与注册商标相同的标识,显然侵犯了注册商标的专用权。

此外,魏年多次反对他人成功注册李商标。

微念向子柒文化转让“李子柒”商标显示无效,微念异议他人抢注李子柒商标胜诉

【更多】

此前,九拍新闻曾联系李询问此案,她表示“一切以官方信息为准”。今年7月,李的视频停看,李团队被“挖”的传闻引发关注。截至目前,李的视频已被叫停3个多月。

杭州威年公司成立于2013年2月。自2019年12月以来,公司先后申请了多个李子奇商标,均被驳回。经纪公司等注册艺人和商标的网络名人并不罕见。

2019年,邓紫棋终止了与蜂鸟音乐的合同。因为邓紫棋的商标早些时候被蜂鸟注册了,所以讨论了邓紫棋是否可以继续使用这个名字。此外,Sodagreen和他的经纪人因商标问题上了法庭。

前不久,理塘吕雯正式完成了丁真珍珠的商标,并表示将把所有商标免费转让给丁真。这引起了不少网友的热议:在经纪公司注册艺人商标是一种保护措施,还是靠艺人牟利?