本文来自3DMGame
索尼正在紧锣密鼓筹备次世代主机PS5,一起问世的DualShock5手柄将搭载新的力反馈扳机按钮,提供全新的操作代入感。不过根据专利有关部门10月17日公布的文件,索尼还有另外一款游戏手柄/控制器提交专利申请。
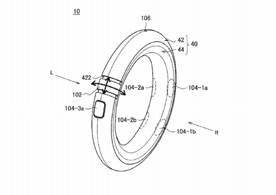
“申请目标时一款手柄,可以通过环形外表面按压一部分凸出的操作元件,同时保持操作元件的可操作性。这款控制器包含一个圆环和一个控制元件,可在圆环的方向上滑动,有预置的位置作为参照,可进行圆周方向上的旋转,同样以预置位置作为参照,预置位置至少有部分安装于圆环外表面的凹陷处。”
光听文字描述的话基本是不知所云,不过专利文档中提供了参考图片,总之就是一个环形控制器,大环上套了一个小环,小环可以进行滚动和滑动操作。

这个控制器的重点在于“环形骨架”这种对称设计可以让玩家不用区分左右手,无论左手还是右手都能进行无差异操作。使用这款手柄的时候,四根手指从环形中间穿过,握住环形骨架,用拇指控制小环进行操作。
或许第一眼看上去很可能是用来匹配PSVR的全新手柄,但大家应该还依稀记得前几年索尼公布的创意儿童玩具Toio。
这款控制器看上去跟Toio的手柄一模一样,所以应该就是Toio玩具的控制器,不用展开联想了。
