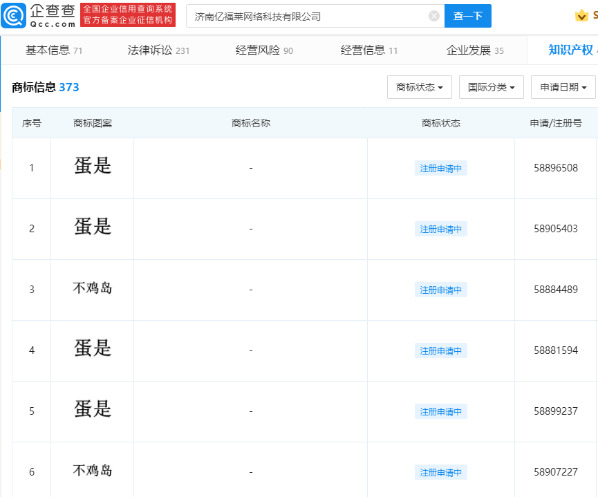
6 日消息 近日,济南亿福莱网络科技有限公司申请注册多个“不鸡岛”、“蛋是”商标,商标国际分类涉家具、布料床单等。
企查查股权穿透显示,该公司由B站上海幻电信息科技有限公司全资持股。



,“不鸡岛”、“蛋是”为“不知道”、“但是”的谐音,是比较常见的网络用语。
当前,很多公司都热衷于将网络热词申请为商标,比如前段时间,就有公司抢注抖音热词“拿来吧你”、“摸鱼”商标。此前还有报道称,有公司将奥运冠军的名字也申请注册商标。不过专利局曾明确表示,后者不可能会通过审核
2021-09-06 17:41:14