近日有消息报道,蔚来汽车向美国专利局提交了一份关于电动车自毁系统的专利,并得到美国专利商标局表示,该专利就是让蔚来电动汽车如何利用自己的电池来结束自己的生命,而实际这是一种安全功能,可以防止灾难性的电池故障夺去人们的性命。
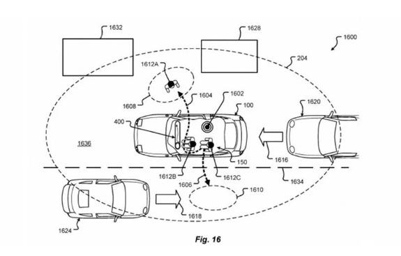
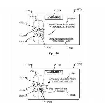
据专利文件介绍,车载传感器和电脑程序能在检测并认定车辆即将遭受电池热失控和电源管理系统大面积失效等无法挽救的情况时,会启动警报和信息来提醒乘客,然后自动驾驶程序驶向远离建筑且附近有水源的无人安全区。简单来说就是,车辆在遭遇人为无法控制时,能提醒乘客下车,车辆自行前往“自毁”场地。
此外,蔚来还考虑到在车辆充电过程中发生毁灭性故障时,汽车能够自动“吐出”充电插头,并快速驶离。如果车库门关闭时,还可自行冲出车库门。或者是出行受限的车主的汽车发生了此类故障,能够得到疏散帮助,通过外部信息警告附近的行人,来提供帮助。
不过,蔚来介绍这一专利是要完全基于自动驾驶场景下实现的,而当前环境中,还不能完全应用实车当中。但是蔚来汽车对这一专利的出发点是基于先进代表而激发,如果车辆在造成毁灭性灾害之前,会自动驶离人群及建筑物周围,确实能够将伤害降至最低。
自蔚来新车推出以来,先后发生了4起自燃事件,后来针对该问题蔚来对问题车辆进行全面召回,共计4,803台将为所有召回车辆免费更换搭载规格型号为NEV-P102模组的电池包,以消除上述安全隐患。
当然,新能源汽车自燃也不仅仅是蔚来汽车的问题。2019年8月,新能源汽车国家大数据联盟发布了《新能源汽车国家监管平台大数据安全监管成果报告》,数据显示,自今年5月起,新能源汽车国家监管平台共发现79起安全事故,涉及车辆96辆。在已查明起火原因的车辆中,41%的车辆处于行驶状态、40%的车辆处于静止状态、19%的车辆处于充电状态。
绝大部分事故车辆使用的是三元锂电池,占比达86%。着火原因中,58%的车辆起火源于电池问题,19%的车辆起火源于碰撞问题,还有部分车辆的起火原因源于浸水、零部件故障、使用问题等原因。意味着新能源仍然还有很多需要增进的空间。
对此,就有不少网友对蔚来这一功能进行了吐槽:“还是先把最基本的问题解决了,再弄新发明吧。”确实,如今影响新能源汽车的发展除了国家退补,也是消费者对目前新能源汽车的技术仍不放心。

不过,蔚来对于该项专利只是基于一个假设,只有当车辆发展的车能够完全自动驾驶时才适用。对于如今这类“智能”汽车的自动驾驶技术即便到达上路测试的标准,但也存在许多隐患。
汽车行业关注 人气汽车新传媒

2019-11-22 16:27:49