进入入口:
登陆管理中心,业务管理--安全及监测--安全组
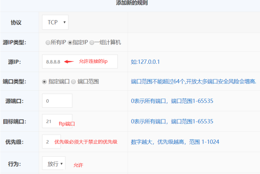
点击添加按钮添加安全组。创建好以后点击【规则】添加对应的信息。
首先设置一个拒绝所有IP连接ftp端口的规则(ftp默认端口21)。

然后再添加允许ftp端口的规则。

关于IP段设置说明:
源IP填写为118.124.8.0/24 表示118.124.8.*
源IP填写为118.124.0.0/16 表示118.124.*.*
添加成功以后,点击“部署”按钮,选择要应用部署的服务器。示例中的端口和ip,更换为自己实际情况的ip和端口。


2021-04-02 08:52:22