清空虚拟主机方法:
首先打开我司网站www.west.cn,输入用户名和密码,进入管理中心,点击左侧的业务管理—虚拟主机管理,登陆到虚拟主机管理面板,如图:

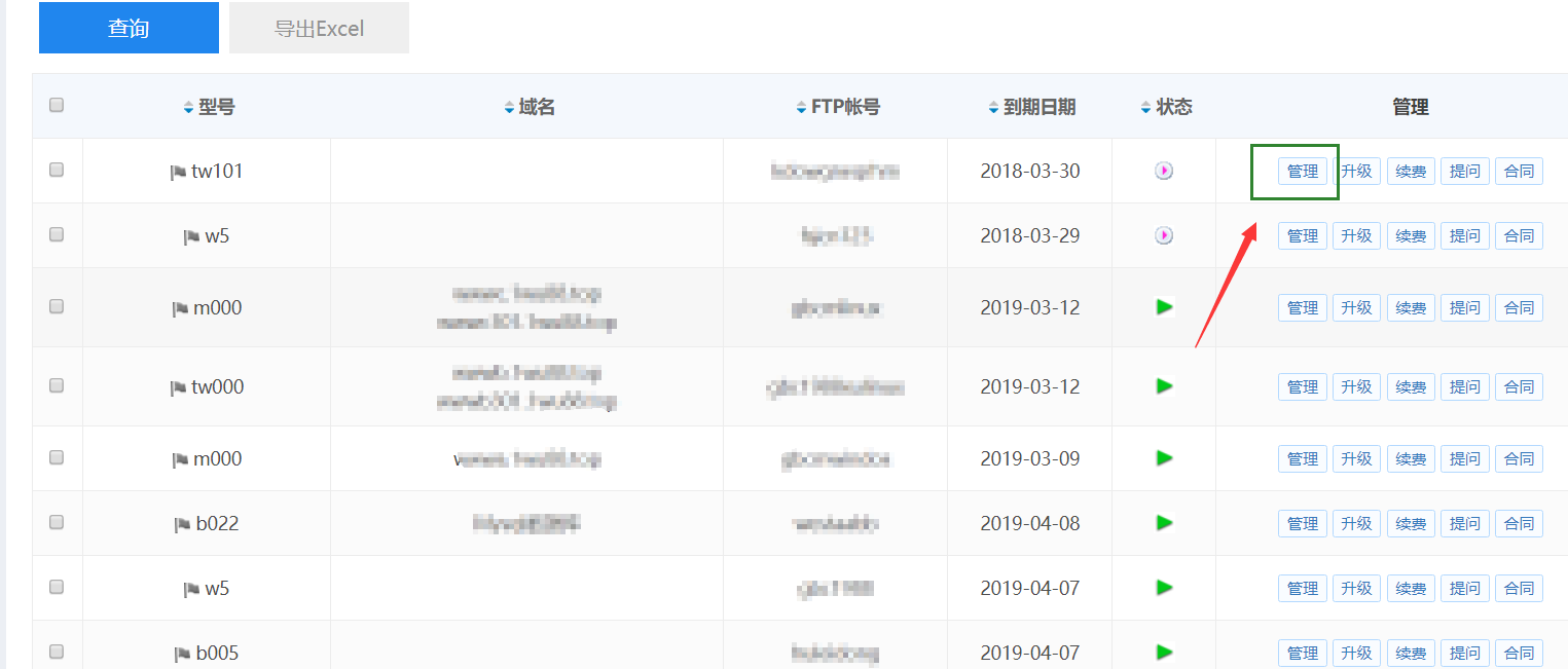
在虚拟主机列表页面,点击需要处理的虚拟主机后面的 管理 按钮 -如图 。

在虚拟主机管理面板,点击“文件管理”,如图:

在文件管理器中点击wwwroot,进入网站根目录(wwwroot目录),如图:

确定当前路径在wwwroot下,点击全选,选择所有文件,然后点击最上边的“删除”可以很快清空您的站点,对于网站内容较多的站点是最省时的方法,数据清空后将无法再找回,此操作时请谨慎!如图:

清空mysql数据库方法,
如果是虚拟主机赠送的数据库,直接在我司虚拟主机管理面板,点击左侧的“数据库”,如图:

进入数据库管理界面,点击下方的清空数据库,即可清空目前数据库中的所有内容,数据清空后将无法再找回,请谨慎操作!如图:

如果是单独购买的数据库,直接点击“业务管理”—“虚拟主机管理”—选择您购买的数据库,点击右侧“管理”,进入数据库管理界面,点击下方的清空数据库,即可清空目前数据库中的所有内容,与赠送的数据库清理方法一致。
清空mssql数据库方法,
首先打开我司网站www.west.cn,输入用户名和密码,进入管理中心,点击左侧的业务管理—mssql数据库,点击管理 登陆到mssql数据库管理面板,如图:

在数据库管理面板中,点击“清空数据库”,将会清空您现在mssql数据库的所有表和存储过程,数据清空后将无法再找回,请谨慎操作!如图:
上一篇:如何更换本机DNS

2021-04-03 01:28:43