本文来自cnBeta.com
未来iPhone手机可以在手机壳背面采用电子控制的装饰元素,使用户可以通过改变苹果标志颜色等方式进一步定制智能手机,还可以向设备所有者发出通知或其他事件的警报。周四美国专利商标局发布了一项专利,其中显示,苹果似乎正在考虑通过向用户设备背面添加变色元素,为用户提供更多选择可能性。
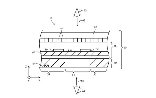
这项名为“具有可调装饰的电子设备”的专利,描述了如何将装饰元素添加到外壳中。这可以采用公司徽标的形式,例如著名的苹果徽标,或沿着边缘的其它装饰物。
装饰可以由透明层组成,该透明层可以包括可调节的光学组件,该组件通过色调层,雾度层,镜面层,使用介电叠层的薄膜干涉滤光片和彩色滤光片,从而提供各种不同的效果和不透明性。
这个装饰连接到控制电路,可以通过设备的操作系统进行调整。例如,用户可以通过应用程序设置,使iPhone上的后部苹果徽标显示为黄色,或者与外壳其余部分相比更加突出,或者甚至隐藏徽标,使其不被察觉。
尽管最初的概念是根据用户的需求来个性化设备,但它也可以用于更实际的目的。该专利文件表明该系统可用于将各种事件传达给用户,应用于装饰元素的效果会根据用例而有所不同。例如,可以在个性化状态和普通状态之间交替显示不同颜色,向用户突出来电提醒。
苹果公司每周都会提交许多专利申请,但它们不一定会转化为未来产品或服务的功能。



2019-09-27 15:53:09