据Letsgodigital报道,三星新款Galaxy Fold折叠屏手机设计专利曝光,带有一支S Pen手写笔。

据了解,近期三星的折叠屏手机公布了大量专利,最新的专利显示,三星的新款Galaxy Fold折叠屏手机可能带有S Pen手写笔功能。
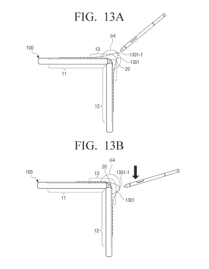
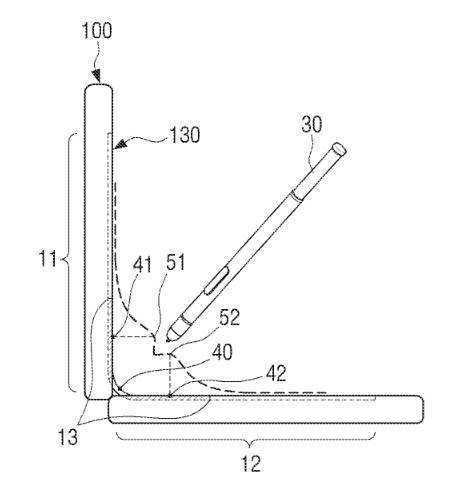
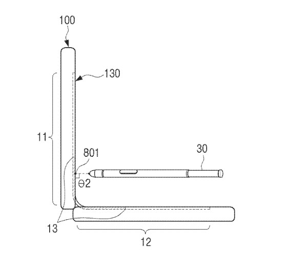
在2019年4月底,三星向美国专利商标局(美国专利商标局)申请了一项“用于处理手势的电子设备和方法”的专利。该专利于2019年8月15日发布,此后该专利也被纳入WIPO(世界知识产权局)数据库中。Letsgodigital表示申请与发布专利的时间仅为4个月,对于新型实用性专利来说,这时间相对较短。


专利中展示了S Pen在向内折叠屏幕和向外折叠屏幕上的使用情况,还有对折叠区域的使用显示情况演示。
早在今年6月,有来自韩国的消息传出,三星正在开发具有更大柔性显示屏的第二代Galaxy Fold。尺寸变成了8英寸(第一代为7.3英寸)。第一代折叠屏基于高端的三星Galaxy S系列,而新机型将基于三星Galaxy Note系列。

2019-10-07 11:58:58