目前MacBook系列笔记本均采用独立的触控板和键盘,分别控制文本输入和光标移动。不过根据苹果最新获批的技术专利,未来触控板和键盘有望整合在一起,从而减少空间占用。这项专利名为“触控敏感的机械键盘”,每个键帽的顶部都能识别手指运动,充当触控板的功能来移动光标。







苹果专利文件中首先历数目前通行的键盘的种种弊端。文件中称:“人们一直在尝试寻找键盘的替代品,包括非QWERTY布局、凹凸表面、电容按键、分割设计、薄膜按键等等。然而,要为用户所接受,键盘的替代品必须在可用性或人体工学方面存在显著改善。而目前为止的各类尝试都无法取代传统机械键盘的地位。”
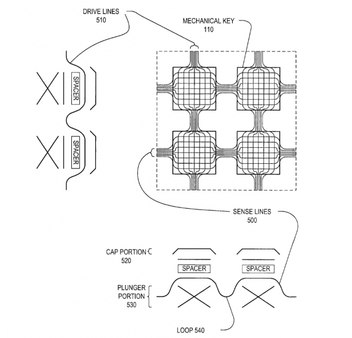
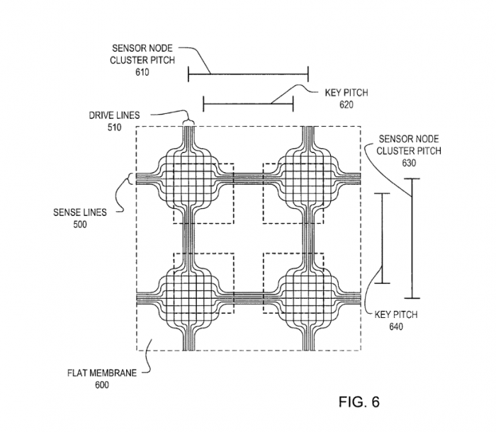
依照专利的描述,用户通过将手指在键盘表面滑动来控制光标的移动,就如同触控板一样。这些具备触控功能的按键会提供与触控板完全一致的功能,让用户实现指点操作、选择菜单项以及在屏幕上完成缩放与滚动操作,所有这一切均无需离开键盘。
每个键位将拥有2个级别的行程,通过不同的击键力度,用户可以实现不同的操作。例如,轻点按键,使之完成第一档行程,系统会将此识别为字符输入,而用更大力度点击则会被视作“一次鼠标点击”操作。
此外,用户还可以同时完成点击和轻扫操作。这样,当左手在点击键盘左侧键位时,右手可以通过轻扫右侧键位移动光标。
阅读全文
2020-03-11 20:19:34