动力电池成本占整车成本的40%,甚至还要更多,降低动力电池成本一直是电池供应商和主机厂的重要任务之一。现有的电池Pack结构,通常由“电芯-模组-整包”的三级结构组成。若干个电芯组合在一起,被称为“模组”;若干个模组组合在一起,再加上BMS、配电模块等零部件,就成为“电池Pack”。为动力电池降本,主要手段之一就是减少“模组”的成本,但如今这种手段已经到了瓶颈期。
如何既能降低电池成本,又能提高能量密度,增加续航里程?
CTP技术或许是当下最好的选择!
CTP技术全称Cell To Pack,也叫无模组技术,现有两种不同的技术路线。一是彻底取消模组的方案,以比亚迪刀片电池为代表;二是小模组整合为大模组的方案,以宁德时代CTP技术为代表。此外,比亚迪刀片电池专攻磷酸铁锂电池,宁德时代则以高镍三元锂电池为主。
■ 比亚迪CTP技术有什么特点?
比亚迪刀片电池,就是在此前方壳电池的基础上,将电芯做“长”,做“薄”,形状类似刀片。根据公开信息显示,比亚迪一共有5种不同的电芯规格,具体数据如下表所示。这种电芯其实高度同现在方壳电池相比没有变化,厚度相比软包电芯略厚,主要变化是长度,从435mm一直到2500mm都有。这里面,比亚迪具体是如何做的,根据目前的资料还不清楚。
这种电芯想要组成电池PACK,就要依赖CTP技术。这种技术一方面提升了电池PACK的包内空间利用率,增加了带电量;另一方面又减轻了PACK重量,提高了整包的能量密度。
比亚迪刀片电池专利图
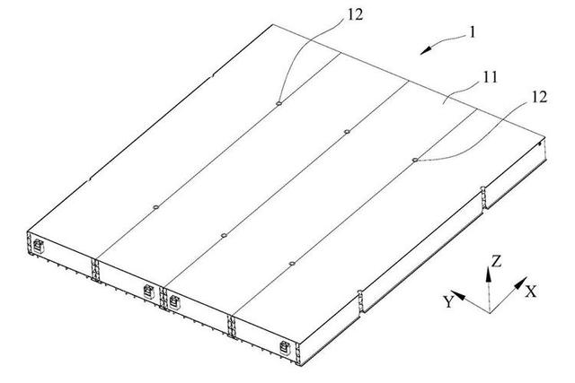
现有三级结构电池PACK示意图
根据比亚迪申请专利能看到,在电池包总体积一致的情况下,现有的电池PACK结构,多出了各模组的侧板、端板、紧固件、横梁、纵梁等组件,包内空间利用率大概在40%左右;而采用了CTP技术的比亚迪电池包,除去电池管理系统、配电箱等组件,包内空间利用率大概在62%左右。受到不同的电芯布局方式影响,包内空间利用率分别为55%、60%、62%、65%,如有需求甚至可以达到80%。即使是同一辆车,采用CTP技术的电池PACK后,带电量约增加20%-30%,续航里程也能提升20%-30%。
■ 宁德时代CTP技术有何不同?
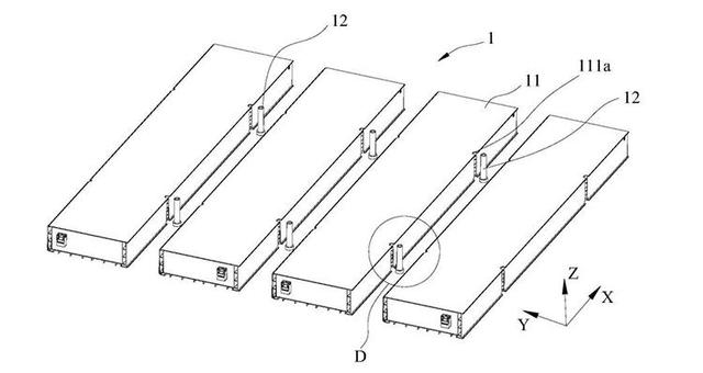
宁德时代在去年法兰克福车展上,公布了自家CTP技术的部分信息,这种电池PACK由至少两个以上的大模组构成(如下图),每一个模组之间通过固定件连接在电池托盘上,最终电池PACK通过安装梁固定在不同车型上。
宁德时代CTP技术电池Pack示意图
宁德时代CTP技术电池模组爆炸图
根据宁德时代专利能够看到,一个大模组里面被若干个塑料材质的散热板分割成一个个小的空间,方壳电芯就像电脑硬盘一样,可以插进这些小空间。每个电芯的侧面还贴有导热硅胶垫片,且电芯宽度方向的散热板留有散热通道,可以直接于外部的冷却管路连接。根据相关数据显示,这样做能够减少约40%的零部件,这些零部件来自模组之间的连接线束、侧板、底板等。此外,在电池体积不变的情况下,采用CTP技术的电池Pack包内体积利用率也提升了15%-20%。
■ CTP技术有什么优点?
1、轻量化。CTP技术能够最大程度的减少电池Pack内部,各个模组之间的侧板、底板、连接线束、固定件、非必要的横梁,纵梁等零部件,对于电池的轻量化非常有帮助。
宁德时代CTP技术电池模组连接方式
2、电池能量密度提升。这里面有两个维度,第一个是重量比能量密度,这种说法也是我们常见的;以宁德时代的CTP技术为例,重量比能量密度能达到200Wh/kg。第二个维度是体积比能量密度,以比亚迪的CTP技术为例,体积比能量密度相比过去能够提升50%,不同规格的电芯体积比能量密度分别为439Wh/L、448Wh/L、449 Wh/L、450 Wh/L。
作为对比,采用CTP技术的比亚迪磷酸铁锂电池Pack的重量比能量密度已经达到了180Wh/kg,堪比当下采用NCM811电芯的电池Pack了。
比亚迪刀片电池的另一种布局形式
3、成本低。事实上,CTP技术落地的一个重要推动力就是降低动力电池成本的需求。以比亚迪为例,新产品的成本可以降低20%-30%。这里面包含电池Pack本身的成本的因素,也包含简化了生产组装工艺,导致不良率下降的因素。宁德时代虽然没有透露成本优势,但因为生产效率提升50%带来的积极影响,显然不可忽视。
■ 现阶段,对CTP技术的一些疑问?
1、电池碰撞安全。传统三级结构的电池Pack,因为有模组的存在,所以碰撞安全多了一层保护。采用CTP技术的电池Pack,除去Pack的边梁,电芯将直接承受碰撞的冲击。
从现有的资料来看,以宁德时代为例,Pack的框架是铝型材直接挤压成型,以增加强度;每个大模组内部的塑料壳体通过注塑成型,注塑时将散热板嵌入箱体模具内,实现一体成型。
宁德时代CTP技术电池模组内的散热板示意图
2、电池热管理。由于新技术改变了电池Pack的结构,势必会对电池的热管理系统,甚至BMS系统提出全新的设计要求和策略,这是软件层面的考量。
从硬件层面来看,比亚迪为这种电池Pack设计了新的排气孔和排气通道。排气孔对着电芯两端的防爆阀,当火焰、烟雾或气体从防爆阀中排出,会通过排气孔进入排气通道,排出电池包外。现有的电池Pack则没有类似的排气通道设计,火焰、烟雾或气体很容易聚集在模组内,对电芯造成二次伤害。
比亚迪刀片电池的排气通道设计(103为防爆阀,221为排气孔,222为排气通道)
类似的设计,我在宁德时代的专利申请上也看到了,且针对三元锂电池更易发热的情况,采用宁德时代CTP技术的每一个电芯,内置在上下壳体中。壳体中间填充有导热胶,电芯侧壁和壳体之间还有压力或温度传感器。前者用来检测电芯的外形变化,后者用来检测温度变化,以排除故障电芯,提前预电芯测热失控现象。
3、售后维修便捷性和成本。这是知乎大V朱玉龙提出的一个疑问——因为电芯或采取某种方式(或许是粘)直接固定在电池Pack的托盘上,因此4S店在日后的维修中,一是对技术提出了更高的要求,二是某个电芯故障,或许需要更换整个电池组。
比亚迪刀片电池的又一种布局方式
4、电池的一致性。目前有分析推测,采用CTP技术的电芯,其内部或许是几个更小的电芯以并串联的方式一个一个连接起来。无论该推测是否正确,这种新的技术对于电池的一致性确实提出了更高的要求。这里面也包含两方面的内容,一是电芯生产过程中的一致性,二是电池使用过程中的一致性。而电池的一致性,一直以来都是国内电池生产商难以很好解决的问题。
■ 还有谁家有CTP技术?
除了上文所述的宁德时代和比亚迪之外,长城汽车的蜂巢能源、国轩高科等电池企业也都在研发自己的CTP技术。
据蜂巢能源透露,他们的CTP技术既有无模组方案,也有大模组方案。相比蜂巢能源传统的590模组,CTP-G1减少24%零部件数量,每Wh电池成本降低0.1元;CTP-G2提升5%-10%重量成组效率,提升5%空间利用率,减少22%零部件数量,每Wh电池成本降低0.21元/Wh。只是目前还没有更多的技术信息透露出来。
蜂巢新能源的CTP电池展示
另一方面,今年3月比亚迪将正式发布“超级磷酸铁锂电池”,届时关于比亚迪的CTP技术或许会有更多消息。北汽新能源则确定要在EU5上,率先搭载采用了宁德时代CTP技术的电池,我们也可以期待。按照主机厂动力电池的测试流程,预计今年Q1末,我们就会看到更多采用了CTP技术的电池公布技术亮点。
■ 邦点评
CTP技术能够显著提升电池能量密度,提高纯电动车的续航里程,这对消费者而言是一件好事。然而,回归文章标题的疑问——CTP技术能让我们的车更安全、更便宜吗?目前为止,仍需打个问号。安全方面,最基础也是最重要的电池一致性,国内电池企业同日韩电池企业还有较大差距;成本方面,由于电池供应商会掌握更大的话语权,新技术带来的电池成本的降低,是否能体现在车辆的指导价上还未曾可知。

2020-03-18 21:04:44