虽然华为手机在谷歌系统和处理器代工方面都受到了不小的挑战,但不得不说,其总能在新的一代手机上带来惊喜,这次的Mate 40系列也不例外。
据曝光,华为Mate 40和Mate 40 Pro都将采用麒麟9000处理器,5nm工艺,性能更强。此外,也都是6.67英寸OLED屏幕,90Hz刷新率,其中Mate 40 Pro还会采用瀑布屏。
后置摄像头方面,Mate 40将采用5000万主摄,2000万超广角,以及800万长焦,应该是3X光变。而Mate 40 Pro则是5000万主摄+液态镜头,看上去还有潜望式摄像头,应该至少有5X光变,此外还可能有ToF镜头。
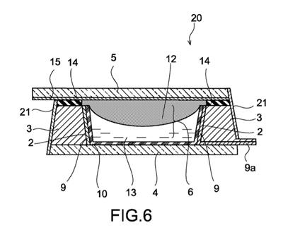
说起液态镜头,很早前曾经有索尼研究的报道,该技术的基本原理是通过改变液体压力来改变镜头曲率,主要是为了减少镜片数量,提升对焦速度,减去内部马达。但这更像是研究报告,后来没有产出产品。

而后,也有报道佳能为可替换镜头研究液态镜头,更确切地说是液态镜片的专利,其提供两种方式,一种是电驱动改变镜片边界形状,一种是通过机械驱动通过压力改变镜片边界形状。但后续相机市场的热点就是微单了,所以大家也没看到佳能在这方面有更多的技术创新。

而手机则不同,空间小,寸土寸金,因此液态镜头的价值更大。从华为的专利可以看到,其通过结构部件挤压液态镜头,改变形状,具有较高的可靠性。当然,具体能带来哪些优点,可能只有发布会现场才会知道,但这一华为自研的镜头技术,显然开辟了一个新的战场,就是在CMOS之外,从镜头角度来获取更大的光学优势。
可以预见的是,明年即使麒麟9000处理器已经没货,华为依然会提供拍照能力强大的优秀手机产品,并在拍照、屏幕、电池等方面陆续取得突破和创新,给我们的移动生活带来更丰富的选择。

2020-08-18 09:35:40