大家都知道,苹果一直以来都在致力于将自家的iPad打造成生产力工具,近几年除了不断增强iPad本身的处理性能外,各种配件的出现和升级让iPad放出“下台电脑何必是电脑”的豪言。这不,近日苹果又有新动作曝光,据AppleInsider报道,近日公布的一项新专利申请显示苹果正在探索一种全新的连接配件,可以将两台iPad或iPhone相连在一起,实现笔记本式计算机的功能。

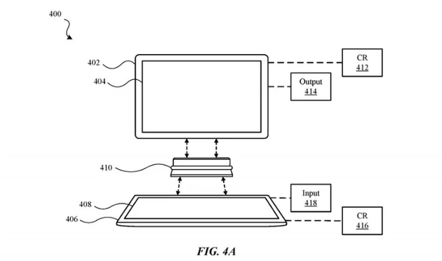
这项专利名为《模块化多屏电子设备》,配件包括两个小连接器和一个铰链。从专利申请的示意图来看,两台设备的连接可以是纵向或横向,也就是说除了笔记本式的上下连接方式,还可以类似书本式的左右连接。而且不一定要使用两个大小相似的移动设备,屏幕一大一小的设备也OK。


目前所知的两个具体功能分别是,两台iPad或iPhone连接起来时,其中一台可以充当显示器,另外一台则可以充当动态键盘。此外,两个设备之间可以进行文件传输以及资源共享等。如果一个设备的摄像头比另一个好,或一个摄像头更适合视频会议等,可与另一设备共享该资源。
看到这里很多网友就疑惑了,想用键盘的话使用妙控键盘,或插入扩展坞连接鼠标键盘不香吗?两个设备之间的文件传输用隔空投送不方便吗?

如果只是屏幕扩展,去年苹果就在推送的macOS 10.15 Catalina 正式版中增加了新的功能——随航(Sidecar),通过此功能可以将iPad 随时变成 Mac 的扩展屏幕。
不过按苹果的理念,事情肯定不止这么简单。最终能不能给大家带来惊喜,我们只能拭目以待并密切关注,目前想要充分发挥iPad的生产力,搭配一款功能强大且使用方便的扩展坞是必不可少的。不少第三方配件厂商也嗅到了iPad的使用趋势,其中像UGREEN绿联就推出了专为iPad Pro设计的直插款扩展坞,受到不少果粉的青睐。

产品的差异往往体现在细节方面,而这些细节就决定了产品能否脱颖而出虏获用户的心。比如绿联这款扩展坞接口不是居中,也不是完全靠近一端,而是稍稍偏上,这样与设备融为一体的同时也不会影响手握iPad Pro以及各种保护壳,据悉此外观设计还获得了专利。

绿联这款iPad Pro扩展坞提供三种组合接口,以便满足用户不同的使用需求。



另外,针对苹果这次的神秘新专利,还有网友提出:这种设备互联方式与华为手机的PC模式相比谁更厉害?虽然华为手机通过扩展坞连接大屏显示器后,手机可以作为鼠标键盘使用或与显示屏互不干扰,可以完成与电脑一样的部分功能,但这种方式实际上更像是把手机作为大屏显示器的主机,所以本质上完全是两回事,不具有可比性。


2020-08-21 17:55:54