在当前时间节点,iPhone被爆料出申请了一款具备自动修复功能的折叠屏手机专利,是否存在炒作或者博人眼球的嫌疑,这个就不可而知了。

下面我们来看下带有自动修复功能的折叠屏到底是一款怎样的产品。
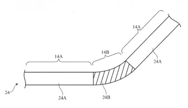
众所周知近几年各大手机厂商都推出了自己的折叠屏手机,前不久华为还爆料了自己的折叠屏二代,所有折叠屏手机都不同程度的存在的弊端就是屏幕折叠点屏幕覆盖层凹痕,划痕,等缺陷。苹果本次专利就是专门针对,显示屏覆盖层中的凹痕,划痕等缺陷,而研发的一种可以自动愈合的材料。
在屏幕的最外层包裹一层弹性体,这就是iPhone的自愈原件,弹性体是可以拉伸,或者收缩到原有形状,一种类似于某些记忆床垫中的记忆泡沫,这种泡沫形状是通过热量感应产生的,比如人体体温。
另外,自愈的发生还可以通过外部干扰进行加速,比如光,热,电流或其他外部刺激。
这层特殊材质将应用到折叠屏外层用于保护内部显示层,再经过手机电流,或者热量来进一步加速保护层的恢复,使得屏幕使用寿命更长,更耐用。
不过并没有迹象表明苹果要推出折叠屏的想法,本次曝光的专利,在当前时期,或许真的是为iPhone12近几天的发售预热吧。

2020-10-18 11:25:35