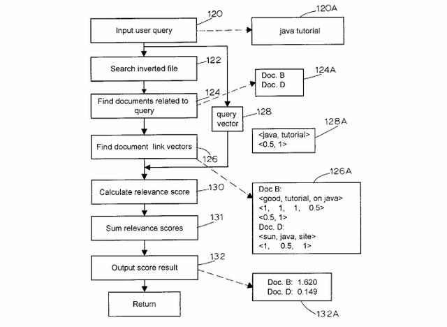
九七年李彦宏所持申请专利的部分设计图

李彦宏做的设计-申请的专利资料图

百度公司董事长兼首席——robin 李彦宏
李彦宏的经历
-
1968年,考入山西阳泉晋剧团。
-
1987年,考入北京大学。
-
1991年,美国获得计算机科学硕士。
-
1994年,担任道·琼斯子公司高级顾问、《华尔街日报》网络版实时金融信息系统设计人员。
-
1997年,硅谷的搜索引擎公司Infoseek任职工程师。
-
1999年,李彦宏和徐勇回到中国创建百度公司。
-
2000年,百度成为全球最大的中文搜索引擎技术公司。
-
2009年,百度技术创新大会上,李彦宏提出框计算(Box Computing)技术概念。
可以看到李彦宏也是技术出生,人说李彦宏编程水平比马化腾更高,因为他是专科出生,而且还留过学。
19岁的李彦宏是山西阳泉市的高考状元,在填报高考志愿时,高中时参加全国青少年程序设计大赛的他,毫无疑问地喜爱计算机,但是第一志愿却不是北大计算机系,而是信息管理系,因为他考虑到:
将来,计算机肯定应用广泛,单纯地学计算机恐怕不如把计算机和某项应用结合起来有前途。
读完北大后面临毕业,正是沉闷的1991年,决定“走出去看世界”的李彦宏如期接到布法罗纽约州立大学的入学通知。
留学读研期间,那个时候是1992年,互联网在美国还没开始普及,但李彦宏已经开始行动——从专攻计算机转回来,开始钻研信息检索技术。
李彦宏的导师
搜索引擎技术是互联网一项最基本的功能,应当有未来
搜狗王小川
我比他懂技术,他的程序可能写的比较烂。
知乎作者:曹政
应该还是相当不错的,李彦宏成名的是超链算法专利,当时在米国,william zhang 选他当接班人,绝对是看中他的逻辑思路和技术功底的。那时候 william zhang可是全球最牛b的搜索专家,谷歌当时还没冒出来。
知乎作者:Robert Struggle
根据李彦宏童鞋的履历,他妥妥的技术出身,再结合围观这么多年的经验,这货还是个典型的闷骚型程序猿,一般这种特征的程序猿,就算没有多顶尖,也差不到哪里去,因为除了和技术较劲,没有别的东西能引起这类人的性趣了。

2019-07-08 00:22:22