16 日消息 美股上市公司开心汽车 (KXIN.US) 于 4 月 15 日宣布,纳斯达克已批准其 2020 年 12 月 31 日订立的购股协议。根据协议,开心汽车将收购海淘车 100% 的股份,并向海淘车发行 74,035,502 股普通股。公司预计将于 2021 年 5 月完成收购。


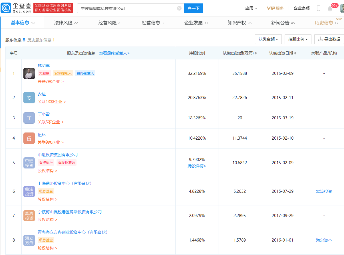
企查查 APP 显示,宁波海淘车科技有限公司(以下简称“海淘车网”)是一家专注于平行进口车的垂直电商平台,通过“港口直销”的模式,与青岛国际汽车口岸独家战略合作,通过互联网平台,直接面向消费者发售商品。企查查显示,海淘车网至今共有 4 次融资记录,曾获得海尔资本投资,目前海尔旗下青岛海立方舟创业投资中心(有限合伙)持有该公司 1.4468% 的股份。


,二手车经销商集团开心汽车于 2019 年 5 月正式登陆美国纳斯达克,开心汽车集团也是中国第二家成功赴美上市的二手车企业。

2021-04-16 17:29:03