13 日消息 早在 2020 年初,OPPO 便公布了自研芯片“马里亚纳”计划,由 2019 年成立的芯片 TMG(技术委员会)负责,并提供大量的研发资金。在这之后,便很少有其研发芯片的消息。
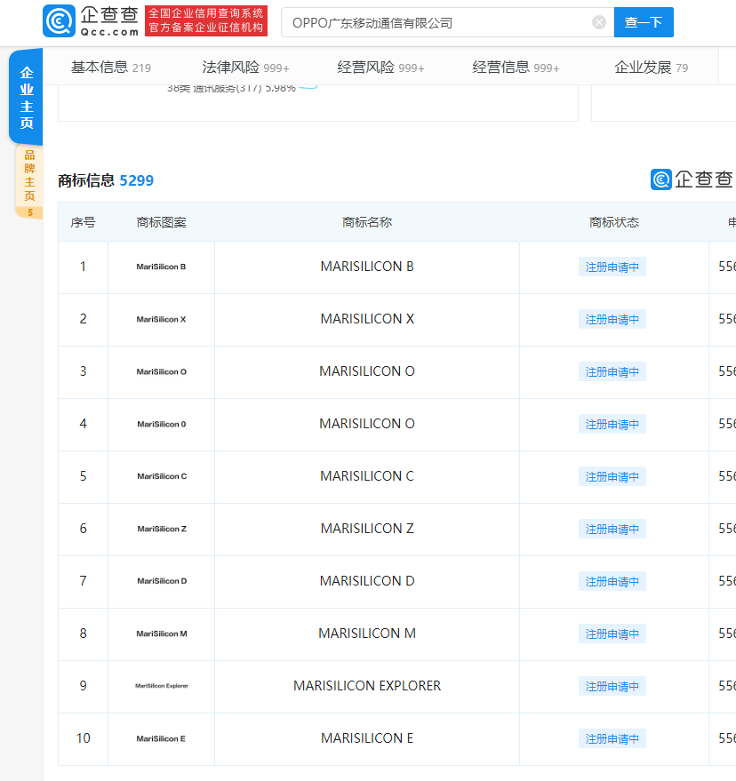
近日企查查 App 显示,OPPO 广东移动通信有限公司于 4 月 27 日注册大量 MARISILICON 商标,其中包含 B、X、O、C、Z 等多个名称,国际分类均为 9 类 科学仪器,目前商标状态为注册申请中。据悉,目前 MARISILICON 暂无翻译,马里亚纳硅英文单词为 Mariana Silicon,因此可以推断出这个名称为世界最深海沟“马里亚纳”和硅芯片的结合,所注册的商标疑似为 OPPO 自研芯片的正式名称。

,2019 年 11 月,OPPO 曾向欧盟知识产权局申请了 OPPO M1 的商标,是一款协处理器的名称。OPPO CEO 陈永明此前也表示,将在未来三年内投入 500 亿元研发资金,这其中预计也会包含自研芯片的投资。

2021-05-13 15:14:51