4 日消息 企查查 App 显示,8 月 2 日,暴风集团股份有限公司新增一条被执行人信息,案号(2021)京 0107 执 6085 号,执行标的 1146570 元,执行法院北京市石景山区人民法院。具体来看,该执行所属的案件是上海艾瑞市场资讯股份有限公司与暴风集团股份有限公司关于服务合同的纠纷案。

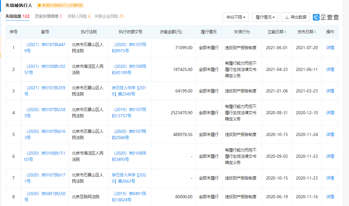
企查查信息显示,暴风集团 2020 年以来有多条被限制高消费、失信被执行人信息,履行情况为全部未执行。


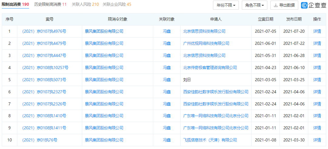
,由于暴风集团众多案件的标的未执行,公司法人代表冯鑫已经被北京市石景山区人民法院多次限制高消费。

2021-08-04 13:07:33