16 日消息 信息显示,8 月 13 日,暴风集团股份有限公司新增被执行人信息,执行标的 2.87 亿元,案号 (2021) 粤 03 执 6794 号,执行法院为深圳市中级人民法院,相关案由为金融借款合同纠纷。

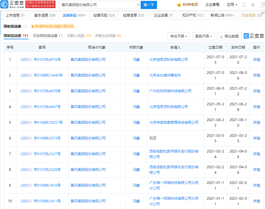
企查查风险信息显示,暴风集团股份有限公司目前共有被执行人信息 5 项、失信信息 123 项、限制高消费信息 191 项。


2019 年 7 月,暴风集团老板冯鑫因行贿入狱。目前,暴风集团已无财产可供执行。

2021-08-16 14:25:44