
市值 2.4 万亿美元(约合 15.55 万亿元人民币)的苹果,造车到什么进展了?
从去年年底开始,苹果造车的传闻不断,甚至传出苹果汽车将在几个月内面世的消息。这不禁让全球果粉和汽车行业都更加关注苹果造车的最新进展。
经过半年时间,苹果造车的热度仍然不减,但分析指出车辆可能还要 3~5 年时间才能正式推出。期间,还是需要苹果的合作、团队、测试和专利多个层面分析苹果造车的进展。
近期,有媒体报道称苹果一个团队秘密到访韩国,并且和 LG 动力电池部门、SK Innovation 都举行了会谈。结合此前的消息,苹果似乎希望在亚洲建立一条完整的电动汽车供应链,通过美国的设计研发,最后在代工工厂内组装成整车,这也和苹果消费电子领域的布局类似。
与此同时,2021 年以来,苹果造车团队也经历了一些人事变动,其中包括核心团队 13 人中,共有 3 人离职。与此同时,苹果也通过高薪聘请、内部转岗的方式,充实汽车团队。
此外,苹果今年还获得了至少 25 项汽车相关的专利,涵盖 3D 物体检测、自动驾驶策略、手机车钥匙以及车辆安全等多个方面,苹果的智能电动汽车正加速变为现实。
01.苹果团队密访韩国 亚洲供应链正在建成
近期多方消息显示,苹果正在与亚洲多家厂商谈判,希望建立一条完整的汽车零部件供应链。对于一辆具备自动驾驶能力的电动汽车来说,需要供应商提供的最核心部件就是动力电池和造车平台。
根据韩国媒体《The Korea Times》报道,近期苹果的一个团队秘密到访韩国,就汽车供应链同 LG、SK Innovation 和韩华集团三家公司进行了高级别会谈。
其中一位直接参与会谈的行业高管表示:“苹果一直在于韩国的半导体和显示技术领域的公司进行商务谈判。除了智能手机业务之外,苹果也在为其电动汽车业务在韩国寻找合作伙伴。”
在采访中,他还确认了苹果与 LG、SK 集团、韩华集团三家公司举行了会谈。他说道:“如果没有与韩国厂商的合作,苹果将无法完成其电动汽车计划。苹果已经与 LG、SK 集团和韩华集团进行了谈判,但谈判仍处于早期阶段。”
《The Korea Times》还援引消息人士的话报道称,苹果与 SK 集团旗下子公司 SK Innovation 以及 LG Magna e-Powertrain(LG 与麦格纳的合资公司)举行了高级别会议。但是,SK 集团和 LG 都表示,很难确认是否真正举行了此次会议。
在此之前,苹果也和中国的一些磷酸铁锂电池供应商举行了会谈,其中包括宁德时代和比亚迪。
不过,苹果希望电芯供应商能够在美国建立工厂,这一消息在此前得到了一名白宫官员的证实。
然而,中国公司目前不愿意在美国建厂。韩国公司 LG 能源解决方案、SK Innovation 都正在美国建立电芯工厂,三星 SDI 也表示正考虑在美国建厂。
韩媒分析称,苹果将更倾向于同这些在美国建厂的公司达成合作。
与此同时,在整车制造领域,业内一直认为富士康将为苹果代工生产汽车产品。
其中最直接的原因有两个,其一富士康一直以来都是苹果最大的代工工厂,如果富士康有汽车生产条件,苹果可能会考虑让其代工,其二富士康的造车计划也正在推进中。
就在上周,富士康发布了二季度财报并举行了财报后的电话会议。在电话会议上,鸿海集团董事长刘扬伟说道:“我们计划 2023 年开始在美国和泰国批量生产汽车。作为全球汽车战略的一部分,我们正在与欧洲一些地区谈判建厂。”
刘扬伟表示,富士康的泰国工厂主要向泰国和东南亚市场供货,年产能为 15~20 万辆。另外,富士康美国工厂目前正在选址,有三个州备选,其中包括威斯康星州。2023 年底,富士康美国工厂将开始量产,帮助 Fisker 等车企造车。
富士康不仅要建设造车工厂,还拥有自己的造车平台 MIH(Mobility In Harmony),并成立了 MIH 开放电动车联盟,欢迎车企、开发商、供应商加入,共同打造电动汽车。目前,MIH 联盟已经拥有 1851 个成员,分别来自 54 国家和地区。仅在本月,就有 34 个新加入 MIH 的会员。
今年 6 月举行的 2021 中国汽车重庆论坛上,富士康 MIH 首席执行官郑显聪表示,富士康的 MIH 平台可以为客户提供 100%、80% 和 50% 三种合作模式。其中 100% 合作意为富士康生产“贴牌车”;80% 合作意为富士康提供所有硬件(包括外观、底盘),软件部分由合作伙伴完成;50% 合作意为富士康可以直接向客户出售平台技术。
富士康 MIH 拥有多种多样的合作模式,意味着合作伙伴能够有更多选择。富士康的造车大门为苹果敞开,相信苹果也会加速布局造车。
02.半年多位人事变动 百万欧元年薪聘请保时捷底盘副总
苹果加速在全球建立起汽车零部件供应链的同时,在公司内部也正加速汽车项目的研发。不过,近半年来,苹果虽有聘请汽车行业大牛,但也失去了几位得力老将。

▲ 苹果汽车管理团队(灰色为近期离职人员)
车东西此前曾报道的苹果汽车核心领导团队的 13 人,今年已有 3 人离职。同时,苹果也从汽车行业高薪聘请了两位大牛,同时也将其他产品部门高管调岗至汽车项目。
1、苹果多位高管加入加入造车项目
最近,有消息传出苹果技术副总裁 Kevin Lynch 加入了造车项目,此前,Lynch 在苹果一直负责 Apple Watch 开发。2013 年加入苹果之后,他曾主导开发了 Apple Watch 这一全新产品类别,同时还领导了苹果医疗保健战略。

▲ 苹果技术副总裁 Kevin Lynch
加入苹果之前,Lynch 曾经担任 Adobe 公司 CTO。而在更早之前,Lynch 在一家初创公司工作,2005 年被 Adobe 以 34 亿美元(约合 220.29 亿元人民币)的价格收购。
外媒《商业内幕》报道说,一位知情人士指出,Lynch 早在几个月之前就加入了造车团队。另一位知情人士还说,Lynch 将继续参与 Apple Watch 的开发和健康领域的工作,并且他技术副总裁的头衔没有改变。
车东西注意到,今年 6 月初举行的苹果 WWDC 上,Kevin Lynch 还以技术副总裁的头衔发布了苹果智能手表操作系统 watchOS 8。
实际上,Kevin Lynch 并非第一位调岗进入造车团队的苹果高管。去年,苹果机器学习和 AI 战略高级副总裁 John Giannandrea 就被任命为汽车项目主管,前主管 Bob Mansfield 正式退休。苹果 Titan 项目执行主管 Doug Field 直接向 John Giannandrea 汇报,John Giannandrea 直接向苹果 CEO 库克汇报。

▲ 苹果高级副总裁 John Giannandrea
而在今年年初,苹果官方宣布 Dan Riccio 不再担任硬件部门负责人,并以工程部门副总裁的身份专注于一个新的项目,直接向公司 CEO Tim Cook 汇报工作。苹果并没有明确这个新的项目究竟是什么,但有传言说,Dan Riccio 加入的就是造车项目。

▲ 苹果工程部门副总裁 Dan Riccio
2、百万欧元高薪聘请汽车行业大牛
与此同时,今年以来苹果也聘请了至少两位汽车行业的技术大牛,其中一位是被誉为宝马 i8 之父的 Ulrich Kranz,另一位是前保时捷底盘开发、卡宴产品线副总裁 Manfred Harrer。
今年 6 月,彭博社报道称,苹果聘请了宝马前高管、电动汽车初创公司 Canoo 的首席执行官 Ulrich Kranz 加入造车团队。Kranz 将向汽车项目执行主管 Doug Field 汇报。

▲ 前 Canoo 首席执行官 Ulrich Kranz
说道 Ulrich Kranz,此人曾在宝马工作了接近 31 年,其中从 2007 年~2016 年的 9 年时间里担任宝马 i 产品线高级副总裁,期间宝马推出了宝马 i3/i8 两款电动汽车,因此 Kranz 也被誉为宝马 i3/i8 之父。
而多年以来,苹果与宝马关系一直紧密。2014 年苹果 CEO Tim Cook 曾在苹果总部外试乘了宝马 i8,Tim Cook 自己也是宝马 5 系车主。

▲ 苹果 CEO Tim Cook 试乘宝马 i8
2016 年之后,Kranz 曾短暂担任造车新势力法拉第未来的 CTO,之后便创立了自己的电动汽车初创公司 Canoo。在 Canoo 工作期间,Kranz 先后担任公司 CTO 与 CEO,并于今年 4 月之后不再担任 Canoo 的 CEO。
说到 Canoo 这家公司,实际上和苹果也有一定联系。今年 1 月,外媒 The Verge 曾报道,苹果于去年上半年同 Canoo 举行了会议,苹果提出了投资、收购等多种合作方案。这是因为,苹果对 Canoo 的滑板造车平台有很高的兴趣。
当时,Canoo 选择准备接受苹果的一笔投资。不过,最终双方谈判破裂,苹果最终未能投资 Canoo。去年年底,Canoo 选择借壳在纳斯达克上市。
既然苹果投资、收购都没能成功,最终选择挖来这家初创公司的 CEO。
今年 2 月,苹果还从保时捷挖来了卡宴产品线副总裁 Manfred Harrer。外媒《商业内幕》德语版报道称,Harrer 被认为是大众集团最优秀的工程师之一。

▲ 卡宴产品线副总裁 Manfred Harrer
Harrer 虽然是保时捷的副总裁,但是为人行事十分低调。从保时捷离职的时候没有任何官宣,也没有向媒体做任何说明。消息人士表示,Harrer 去年年底向同事告别,但没有透露离职的原因。《商业内幕》分析称,这是因为 Harrer 与保时捷之间还有竞业协议,因此他本人没有透露任何信息。
外媒《商业内幕》在采访一名大众集团的经理时,他表示美国的猎头非常厉害。他说道,Harrer 是一名顶尖人才,为人处事非常冷静低调,但是他做的工作都是标杆性的。
有消息指出,Harrer 在保时捷的年薪超过 60 万欧元(约合 458 万元人民币),但估计他在苹果的年薪将超过百万欧元。
3、13 人核心团队已有三人离职
不过,苹果的造车核心团队中也有三人在今年离职。分别负责传感器研发的 Benjamin Lyon、负责自动驾驶安全的 Jaime Waydo 以及工程管理团队的 Dave Scott。
其中,Benjamin Lyon 在离职前已经在苹果工作接近 22 年,从初代 iPhone 开始,他就负责传感器开发,并于 2014 年进入苹果造车 SPG 团队,也是造车团队的元老级人物。

▲ 苹果前传感器研发负责人 Benjamin Lyon
2014 年,Benjamin Lyon 在苹果建立了自动驾驶团队,并担任传感器部门最高级经理。期间,Lyon 还经历了苹果造车项目的几度停滞。离职之前,Lyon 向 Doug Field 汇报,是自动驾驶团队中非常核心的老将。
离职之后,Benjamin Lyon 加入了一家太空飞行公司 Astra,担任首席工程师。
同时,自动驾驶安全负责人 Jaime Waydo 也在今年离职,她此前曾在谷歌自动驾驶公司 Waymo(未拆分前)工作了接近 5 年,之后加入苹果工作近 3 年。
她离职后加入的公司名为 Cavnue 的初创公司,并任职 CTO,仍然专注汽车行驶安全。
与此同时,前苹果工程管理 Dave Scott 离职。此前,他曾负责苹果机器人团队。离职之后,Scott 回归老本行,加入了一家医疗保健公司。
他在苹果虽然只有 1 年零 9 个月时间,但也是造车核心团队的一员。
03.自动驾驶测试车加州第三 距离老大还有很远距离
苹果希望打造的是一款具备自动驾驶能力的电动汽车,自动驾驶测试也必不可少。
从 2017 年苹果在加州取得自动驾驶测试资格之后,就上线了几辆自动驾驶测试车。苹果的自动驾驶测试车由雷克萨斯 RX450 改装而成,最开始仅有 3 辆,数量最多的时候有 72 辆,目前共有 69 辆。

▲ 苹果自动驾驶测试车
特别是今年以来,苹果自动驾驶车辆的安全员的数量也在逐步上升,今年 5 月仅有 72 名安全员,今年 7 月底时,安全员数量增加到了 92 名。
不过,相比于 2020 年 10 月,苹果自动驾驶安全员数量有显著下降。当时,苹果共有 154 名安全员。
与此同时,苹果自动驾驶安全员数量与车辆的比例也和大多数自动驾驶公司相差较大。
例如,在加州测试的自动驾驶公司中,安全员数量大多是自动驾驶汽车数量的 2 倍以上。这样一来可以保证安全员轮换上岗,车辆可以全天无休。
而苹果的安全员数量仅是车辆数量的 1.33 倍,苹果难以做到所有车辆全天无休。
根据加州 DMV 的公布的数据,苹果的自动驾驶测试正逐年发力。2019 年,苹果测试里程为 7544 英里。2020 年,苹果测试总里程达到了 1.8 万英里(约合 3 万公里)。
由于车辆数量较少,苹果的自动驾驶测试里程并不亮眼。今年,从谷歌拆分出的自动驾驶公司 Waymo 已经拥有超过 600 辆测试车,1200 多名安全员,对比之下苹果还有着不小差距。
04.今年已获 25 项专利 自动驾驶是核心
除了合作伙伴、人才以及软件层面发力之外,苹果在技术层面也在发力,今年已经获得 25 项汽车相关专利,其中大部分都与汽车智能化相关,少数几个与车辆制造相关。
1、能用手势、语音甚至眼神控制车辆变道
苹果在今年 2 月获得的一项名为《基于手势控制的自动驾驶汽车》专利显示,自动驾驶车辆能够基于驾驶员隔空指令控制车辆变道。这一功能适用于 L2 和 L3 级自动驾驶,驾驶员如果希望主动控制车辆,可以通过手势、语音,甚至眼神控制车辆变道。

▲ 驾驶员可用手势控制车辆换道
在车内,有一枚 DMS 摄像头专门用于识别驾驶员手势。当出现岔路时,变道信息可以出现在车辆的 HUD 上,此时驾驶员不需要打灯变道,只需要伸出一根手指,在空中挥一挥就能完成变道动作。
与此同时,为了防止误操作,苹果将设置一个手势控制区域,只有将手放在特定区域内,才能被正确识别。


▲ 两种汇入主路的情况
苹果还获得了一项名为《匝道区域躲避车辆的系统和方法》专利,简单来说就是车辆如何从匝道汇入主路。在高速公路上时,常有从匝道汇入主路的情况。车辆在汇入主路之前,先判断是否有侧方来车,并计算速度与时间,如果可能出现相撞的情况,车辆会主动让行或停车,保证安全通行。
2、3D 对象检测相比点云更准确
今年 2 月,有消息指出苹果正在寻找激光雷达供应商,为量产自动驾驶汽车做供应准备。而苹果近期获得的多项专利显示,激光雷达的作用非常重要。
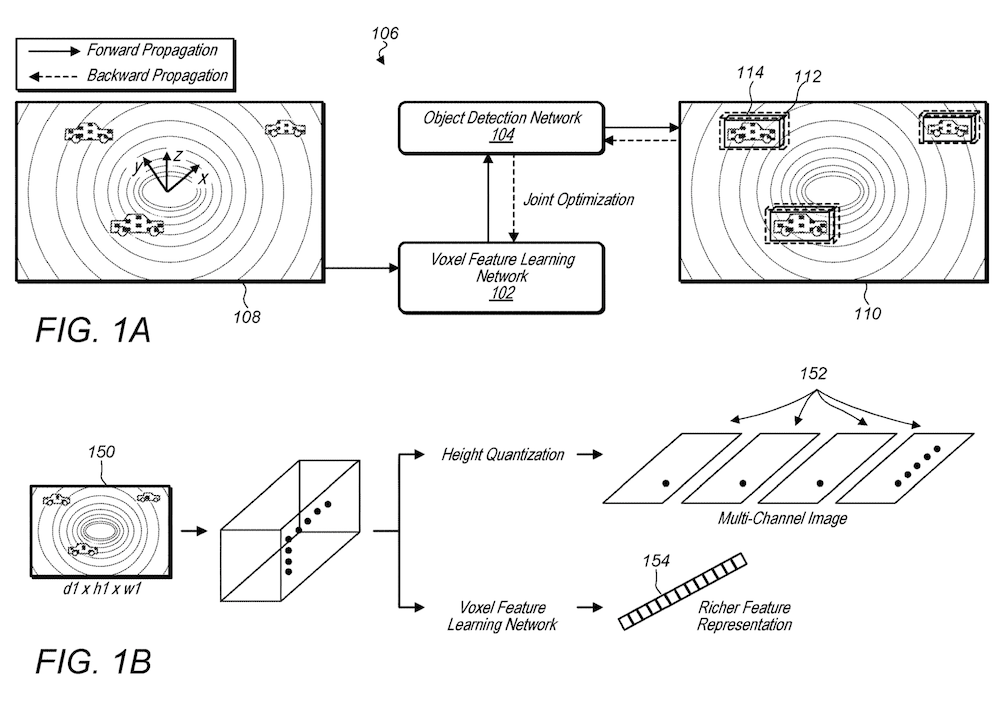
其中一个专利名为《体素特征学习网络》,就是利用 3D 体素特征学习/检测网络捕获细微的 3D 形状信息,从而实现物体识别。

▲ 3D 体素特征学习/检测流程
相比于此前的点云对象检测网络,3D 体素特征学习/检测网络的检测精度可以从此前的 88% 提升至 89.2%,并且平均方向误差可以从此前的 2.5 度减少为 0.82 度。
这一检测方法可以用于检测道路上行驶的车辆、行人、骑行者等多种物体。
3、密集获得三项 NFC 车钥匙专利
去年 WWDC 上,苹果推出了数字车钥匙(CarKey)功能。车主通过在 iPhone 手机中绑定车钥匙,实现用手机解锁车门。今年,利用苹果的超宽频 U1 芯片,即便将手机放在包内,也能解锁车门。
今年,苹果密集获得了几项有关数字车钥匙的专利。
其中,在一项名为《移动车钥匙注册和使用》专利中,NFC 车钥匙的绑定将更加便利。目前,如果要在 iPhone 手机上绑定车钥匙需要下载汽车制造商的 App,并且需要在 App 内进行较繁琐的步骤。而在此项专利中,如果将车钥匙靠近 iPhone,手机上会有弹窗提示用户绑定车钥匙。

▲ 车钥匙弹窗提示
实体车钥匙与手机的连接就像连接蓝牙耳机一样简单。
苹果指出,这种简单的连接方法第一方便了用户,第二也更加环保。
在另一项无钥匙进入系统的专利中,苹果通过一些安全设置,防止数字车钥匙被滥用,保证车辆安全。其中包括通过限制无线电传输、禁止调整发射波形、禁止调整无线电频率等。
05.结语:苹果会重新发明汽车吗?
今年上半年,造车新势力特斯拉销量达 38 万台,智能电动汽车与自动驾驶正在被越来越多消费者看好。
与此同时,人们期待这家市值超 2.4 万亿美元(约合 15.55 万亿元人民币)、手握近 2000 亿美元现金(约合 1.29 万亿元人民币)的公司也能推出一款可以“改变世界”的电动车。

▲ 2007 年 1 月 9 日,乔布斯发布初代 iPhone
或许有一天,苹果 CEO 库克能像 13 年前的乔布斯那样,说出“Apple Reinvents the Car”。

2021-08-17 20:05:24