11 日消息 近日,蚂蚁科技集团股份有限公司发生工商变更,公司注册资本由 237.79 亿元人民币增加至 350 亿元人民币,增幅约 47%。

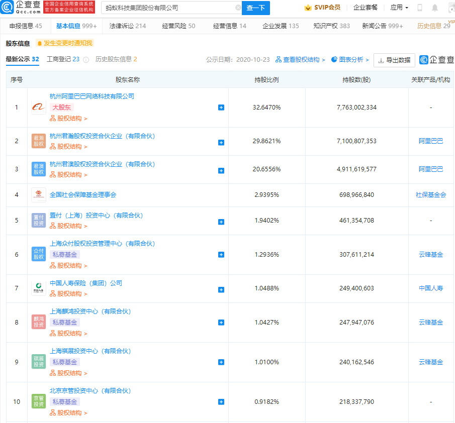
企查查信息显示,蚂蚁科技集团股份有限公成立于 2000 年,法定代表人为井贤栋,经营范围包含:工程和技术研究和试验发展;企业总部管理;控股公司服务;以自有资金从事投资活动等。IT之家获悉,蚂蚁科技集团股份有限公大股东为杭州阿里巴巴网络科技有限公司,持股 32.65%。


对此,蚂蚁集团回应称,注册资本的变动来自于资本公积转增股本,公司并未进行市场化融资,无新增投资者。蚂蚁集团同时表示,根据相关监管规定及公司经营发展需要,增加注册资本金,是为公司后续发展预留更大空间。

2021-10-11 11:43:25