21 日消息,索尼获得了一项投票系统的专利,该系统允许观众将玩家从游戏中移除。
该专利名为“视频游戏中观众投票替换玩家”,于 2020 年 1 月提交,于本周二获得批准。所描述的功能允许观众投票删除(或“替换”)玩家,或向他们发出消息警告,希望他们发挥更好。
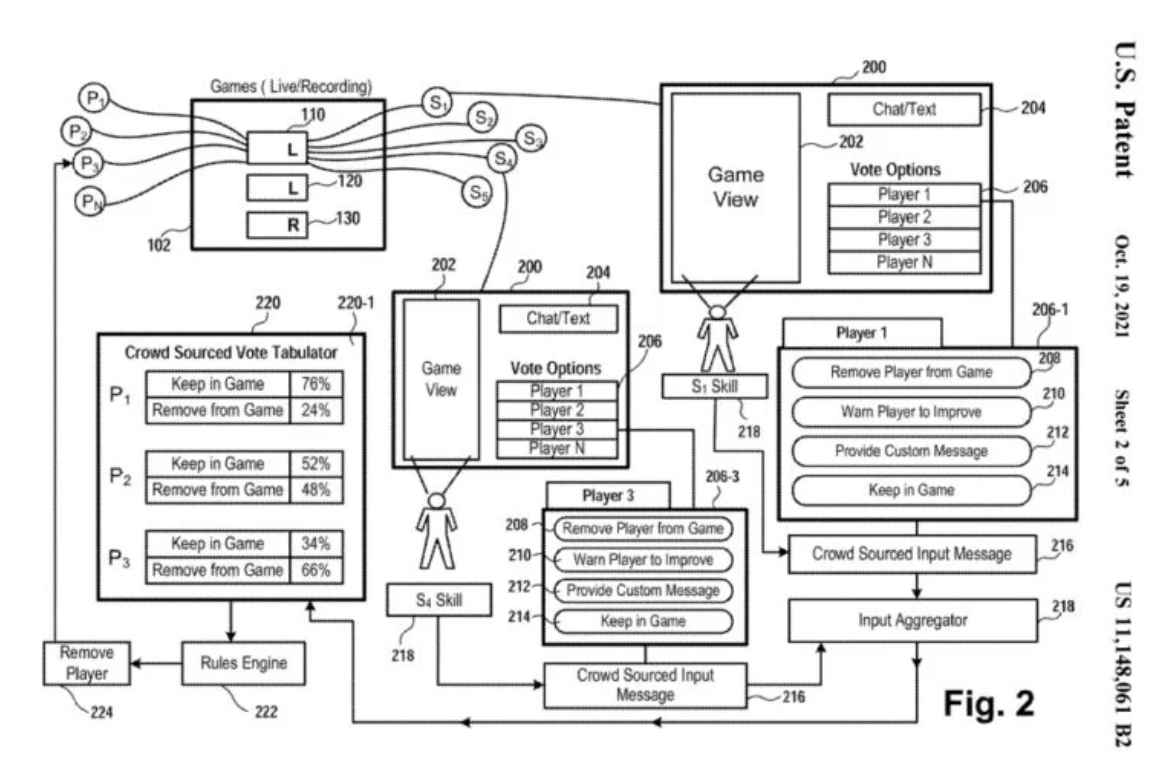
在这项专利中,索尼详细描述了一种情况,在这种情况下,许多观众正在观看一场比赛(它特别列举了 Twitch 作为一个例子)。观众可以进入一个菜单,让他们投票将某个特定的玩家从游戏中移除(或“坐板凳”)。
该图显示观众有四个选项可以选择:“从游戏中删除玩家”、“警告玩家提高水平”、“提供自定义消息”或“继续游戏”。

系统会将观众的投票进行汇总,如果“删除”投票总数达到某个阈值,玩家将被从游戏中踢出。
索尼表示:“该方法还可以包括制作踢出玩家的动画,并向其他玩家或观众提供视频提示,说明为何将玩家从视频游戏中踢出。”
此外,该专利还允许观众用真金白银或游戏内货币付费让一名玩家离开,观众可以在“支付固定价格”、“支付固定价格百分比”或“竞价”中进行选择。

2021-10-21 22:07:11